00131789_0
ISH


00205464_0
Free hanging installation above workstations


00205459_0
Heating mode, vertical air discharge


00205454_0
Cooling mode, horizontal air discharge


00131789_0
00205464_0
00205459_0
00205454_0

ISH    

For industrial zones without air polluting processes

Impulse diffusers with horizontal air discharge in cooling mode

  • Nominal sizes 250, 355, 450, 560 mm
  • Volume flow rate range 205 – 1585 l/s or 738 – 5706 m³/h
  • Casing made of galvanised sheet steel
  • For variable and constant volume flows
  • Installation either free hanging or on walls or pillars
  • Large throw distance due to high discharge momentum
  • Discharge direction can be adjusted manually or with an actuator
  • Chain pull for adjusting the discharge direction manually


Optional equipment and accessories

  • Exposed diffuser parts in RAL CLASSIC colours
  • Electric and thermal actuators for adjusting the air discharge direction
  • Bowden cable for adjusting the discharge direction manually
  • Wall mount

Updating order code
Save configuration
Calculate price
Updating technical data
  • Media
Specification text:
Updating specification text
Show complete text Hide complete text
Initialize order code

Application

Application

  • Type ISH impulse diffusers are used primarily for industrial zones without air polluting work processes
  • Horizontal air discharge in cooling mode, vertical air discharge in heating mode
  • Ventilation of large occupied zones due to high discharge momentum
  • For variable and constant volume flows
  • For supply air to room air temperature differences from –8 to +12 K
  • Installation at heights between 3.5 m and 10 m, either free hanging or on walls or pillars
  • Installation preferably above occupied zones
  • Ideal for use with TDC temperature difference control module

Special characteristics

  • Large throw distance due to high discharge momentum
  • Horizontal or vertical air discharge
  • Free hanging installation above the occupied zone
  • Air discharge direction is adjusted manually or with an electric or thermal actuator

Nominal sizes

  • 250, 355, 450, 560 mm

Description

Parts and characteristics

  • Perforated sheet metal casing with additional rectangular air outlets
  • Air control disc to control the air discharge direction
  • Top entry spigot for connection to a vertical duct

Attachments

  • Chain pull for manual adjustment, approx. 2.0 m
  • B: Bowden cable for manual adjustment, approx. 2.8 m
  • E*: Electric actuator
  • T: Thermal actuator

Accessories

  • W00: Wall mount
  • K00: Chain fixing
  • WK0: Wall mount and chain fixing

Construction features

  • Spigot suitable for circular ducts to EN 1506 or EN 13180

Materials and surfaces

  • Casing with base plate, cross bar and air control disc made of galvanised sheet steel
  • Chain pull made of galvanised steel
  • Pulley wheels made of plastic, UL 94, V-0, flame retardant
  • B: Hand lever made of galvanised steel, Bowden cable made of galvanised steel and with PE sheath
  • P0: Powder-coated RAL 9010, pure white
  • P1: Powder-coated, RAL CLASSIC colour

Standards and guidelines

  • Sound power level of the air-regenerated noise measured according to EN ISO 5135

Maintenance

  • Maintenance-free as construction and materials are not subject to wear
  • Inspection and cleaning to VDI 6022

Technical information

Function, Technical data, Quick sizing, Specification text, Order code

  • Function
  • Technical data
  • Quick sizing
  • Specification text
  • Order code

Functional description

Impulse diffusers discharge the air from air conditioning systems with a high momentum such that large throw distances are achieved. This allows for the ventilation of large areas.

Type ISH impulse diffusers are used primarily for industrial zones without air polluting work processes. They are installed above the occupied zone. An adjustable air control disc allows for adapting the air discharge direction to heating or cooling mode. The supply air to room air temperature difference may range from –8 to +12 K.


Cooling mode

In cooling mode the supply air is discharged horizontally.


Heating mode

In heating mode the air is discharged vertically.


The air control disc can be adjusted manually or with a thermal or electric actuator.

Extract air units should be installed in the upper part of a room, above the occupied zone.

Nominal sizes

250, 355, 450, 560 mm

Minimum volume flow rate

205 – 785 l/s or 738 – 2826 m³/h

Maximum volume flow rate, with LWA ≅ 55 dB(A)

400 – 1585 l/s or 1440 – 5706 m³/h

Supply air to room air temperature difference

–8 to +12 K


Quick sizing tables provide a good overview of the volume flow rates and corresponding sound power levels and differential pressures.

The maximum volume flow rates apply to a sound power level of approx. 55 dB (A).

ISH supply air, horizontal air discharge, sound power level and total differential pressure

Nominal size V Δpt LWA
Nominal size l/s m³/h Pa dB(A)

250

205

738

12

34

250

270

972

21

43

250

340

1224

33

50

250

400

1440

46

55

355

335

1206

11

39

355

435

1566

18

47

355

535

1926

27

54

355

565

2034

30

55

450

470

1692

9

30

450

625

2250

15

39

450

780

2808

24

47

450

950

3420

35

55

560

785

2826

14

30

560

1050

3780

24

40

560

1310

4716

38

48

560

1585

5706

55

55


ISH supply air, vertical air discharge, sound power level and total differential pressure

Nominal size V Δpt LWA
Nominal size l/s m³/h Pa dB(A)

250

205

738

12

39

250

255

918

20

46

250

300

1080

27

51

250

350

1260

37

55

355

315

1134

10

40

355

370

1332

14

45

355

435

1566

19

50

355

515

1854

27

55

450

430

1548

9

36

450

530

1908

13

43

450

630

2268

19

49

450

730

2628

25

55

560

600

2160

9

34

560

795

2862

16

43

560

985

3546

24

50

560

1180

4248

35

55


Impulse diffusers with a cylindrical casing, for industrial zones without air polluting work processes. With adjustable air control disc for air patterns from horizontal (0°) to vertical (90°). Large throw distances with horizontal air discharge. For free hanging installation and also for installation on walls or pillars.

Ready-to-install component which consists of a cylindrical perforated metal casing with air outlets, an air control disc and a top entry spigot.

Spigot suitable for ducts to EN 1506 or EN 13180.

Sound power level of the air-regenerated noise measured according to EN ISO 5135.

Special characteristics

  • Large throw distance due to high discharge momentum
  • Horizontal or vertical air discharge
  • Free hanging installation above the occupied zone
  • Air discharge direction is adjusted manually or with an electric or thermal actuator

Materials and surfaces

  • Casing with base plate, cross bar and air control disc made of galvanised sheet steel
  • Chain pull made of galvanised steel
  • Pulley wheels made of plastic, UL 94, V-0, flame retardant
  • B: Hand lever made of galvanised steel, Bowden cable made of galvanised steel and with PE sheath
  • P0: Powder-coated RAL 9010, pure white
  • P1: Powder-coated, RAL CLASSIC colour

Technical data

  • Nominal sizes: 250, 355, 450, 560 mm
  • Minimum volume flow rate: 205 – 785 l/s or 738 – 2826 m³/h
  • Maximum volume flow rate, with LWA ≅ 55 dB(A): 400 – 1585 l/s or 1440 – 5706 m³/h
  • Supply air to room air temperature difference: –8 to +12 K

Sizing data

  • V _______________________ [m³/h]
  • Δpt _______________________ [Pa]

Air-regenerated noise

  • LWA _______________________ [dB(A)]

This specification text describes the general properties of the product. Texts for variants can be generated with our Easy Product Finder design programme.

00100696_0

 Type
ISH       Impulse diffuser

 Actuator
       No entry: chain pull for manual adjustment
B       Bowden cable for manual adjustment
E4       230 V AC, 3-point
E5       24 V AC/DC, 3-point
E6       24 V AC/DC, modulating 0 – 10 V DC
T       Thermal actuator

 Nominal size [mm]
250
355
450
560

 

 Fixing
       No entry: none
W00       With wall mount
K00       With chain fixing (only for variants with chain pull)
WK0       With wall mount and chain fixing (only for variants with chain pull)

 Exposed surface
       No entry: galvanised
P0       Powder-coated RAL 9010, pure white
P1       Powder-coated, specify RAL CLASSIC colour

       Gloss level
       RAL 9010 50 %
       RAL 9006 30 %
       All other RAL colours 70 %

Order example: ISH–E5/450/P1-RAL 9016

Actuator

24 V AC/DC, 3-point

Nominal size

450 mm

Fixing

Without

Exposed surface

RAL 9016, traffic white, gloss level 70 %


 

Accessories, Dimensions and weight, Product details

  • Accessories
  • Dimensions and weight
  • Product details
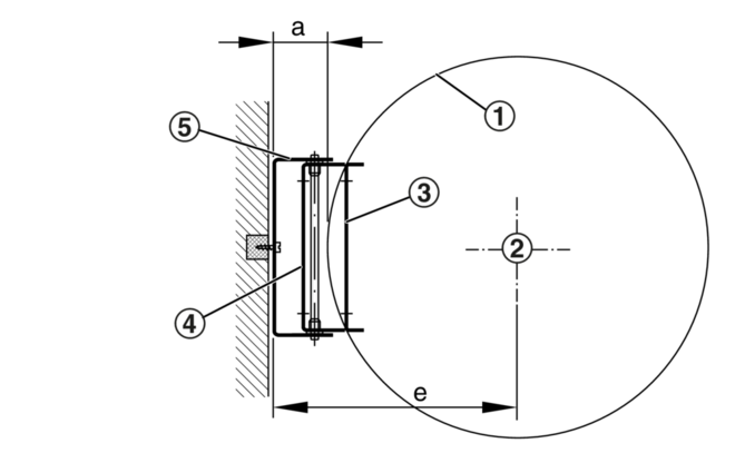
Wall mount (accessory) 00205500_0
① Diffuser
② Centre of diffuser
③ Wall mount, inner part
④ Wall mount, outer part
⑤ Wall bracket


ISH

Nominal size
ØD1
mm
ØD
mm
m
kg
250 252 248 5.0
355 357 353 7.4
450 452 448 10.1
560 562 558 13.1


Installation details, Basic information and nomenclature

  • Installation details
  • Basic information and nomenclature

Installation and commissioning

  • Installation preferably at heights between 3.5 m and 10 m
  • Freely suspended installation
  • Vertical duct connection
  • The spigot has to be screw-fixed to the duct and the entire system has to be securely fixed and suspended (by others)
  • Fixing to walls or pillars with optional wall mount
  • Attach the chain fixing and the hand lever of the Bowden cable to the wall or pillar, if necessary


These are only schematic diagrams to illustrate installation details.

Principal dimensions

ØD [mm]

Outer diameter of the spigot

ØD₁ [mm]

Outer diameter of the diffuser

m [kg]

Weight

Nomenclature

LWA [dB(A)]

A-weighted sound power level of air-regenerated noise

V [m³/h] and [l/s]

Volume flow rate

Δtz [K]

Supply air to room air temperature difference

Δpt [Pa]

Total differential pressure


All sound power levels are based on 1 pW.

Downloads

product information

certificates

production {"x-frame-options"=>"SAMEORIGIN", "x-xss-protection"=>"1; mode=block", "x-content-type-options"=>"nosniff", "x-download-options"=>"noopen", "x-permitted-cross-domain-policies"=>"none", "referrer-policy"=>"strict-origin-when-cross-origin", "strict-transport-security"=>"max-age=31536000; includeSubDomains", "content-type"=>"text/html; charset=utf-8"}

Share page

Recommend this page

Recommend this page by sending a link by mail.

Fields marked with an (*) are required fields.

Share page

Thank you for your recommendation!

Your recommendation has been sent and should arrive shortly.

Contact

We are here for you

Please specify your message and type of request
Tel.: +49 (0)2845 / 202-0 | Fax: +49 (0)2845/202-265

Fields marked with an (*) are required fields.

Contact

Thank you for your message!

Your message is send and will be processed shortly.
Our department for Service-Requests will contact you asap.
For general question regarding products or services you can also call:
Tel.: +49 (0)2845 / 202-0 | Fax: +49 (0)2845/202-265

Contact

We are here for you

Please specify your message and type of request
Tel.: +49 (0)2845 / 202-0 | Fax: +49 (0)2845/202-265

Attachment (max. 10MB)

Fields marked with an (*) are required fields.

Contact

Thank you for your message!

Your message is send and will be processed shortly.
Our department for Service-Requests will contact you asap.
For general question regarding products or services you can also call:
Tel.: +49 (0)2845 / 202-0 | Fax: +49 (0)2845/202-265