Application
Special characteristics
Nominal sizes
Variant
Connection
Parts and characteristics
Accessories
Construction features
Materials and surfaces
Standards and guidelines
Maintenance
Functional description
Ceiling diffusers direct the air from air conditioning systems into the room. The resulting airflow induces high levels of room air, thereby rapidly reducing the airflow velocity and the temperature difference between supply air and room air. Ceiling diffusers allow for large volume flow rates. The result is a mixed flow ventilation in comfort zones, with good overall room ventilation, creating only very little turbulence in the occupied zone.
Type ADLQ ceiling diffusers have fixed blades. Horizontal air discharge is four-way. The supply air to room air temperature difference may range from –10 to +10 K.
To give rooms an aesthetic, uniform look, Type ADLQ diffusers may also be used for extract air.
Nominal sizes | 250, 300, 400, 500, 600, 625 mm |
Minimum volume flow rate | 20 – 250 l/s or 72 – 900 m³/h |
Maximum volume flow rate, with LWA ≅ 50 dB(A) | 575 – 665 l/s or 2070 – 2394 m³/h |
Supply air to room air temperature difference | –10 to +10 K |
Quick sizing tables provide a good overview of the volume flow rates and corresponding sound power levels and differential pressures.
The maximum volume flow rates apply to a sound power level of approx. 50 dB (A).
Exact values for all parameters can be determined with our Easy Product Finder design programme.
ADLQ-A, ADLQ-AR (supply air), sound power level and total differential pressure
250 | 20 | 72 | 3 | 18 |
250 | 50 | 180 | 20 | 30 |
250 | 80 | 288 | 50 | 41 |
250 | 105 | 378 | 86 | 50 |
300 | 35 | 126 | 3 | <15 |
300 | 80 | 288 | 14 | 24 |
300 | 125 | 450 | 35 | 35 |
300 | 175 | 630 | 68 | 50 |
400 | 75 | 270 | 2 | <15 |
400 | 175 | 630 | 13 | 25 |
400 | 280 | 1008 | 34 | 38 |
400 | 385 | 1386 | 65 | 50 |
500 | 135 | 486 | 3 | <15 |
500 | 270 | 972 | 10 | 25 |
500 | 505 | 1818 | 36 | 47 |
500 | 545 | 1962 | 42 | 50 |
600 | 220 | 792 | 3 | 21 |
600 | 380 | 1368 | 9 | 33 |
600 | 535 | 1926 | 17 | 42 |
600 | 675 | 2430 | 27 | 50 |
625 | 250 | 900 | 3 | 20 |
625 | 390 | 1404 | 7 | 33 |
625 | 540 | 1944 | 13 | 43 |
625 | 665 | 2394 | 19 | 50 |
ADLQ-AK (supply air), sound power level and total differential pressure
250 | 20 | 72 | 5 | <15 | 6 | <15 | 11 | <15 |
250 | 40 | 144 | 20 | 30 | 24 | 29 | 42 | 30 |
250 | 60 | 216 | 46 | 42 | 54 | 41 | 95 | 42 |
250 | 85 | 306 | 92 | 51 | 108 | 51 | 190 | 52 |
300 | 35 | 126 | 6 | <15 | 9 | <15 | 20 | 18 |
300 | 70 | 252 | 26 | 30 | 37 | 32 | 81 | 38 |
300 | 100 | 360 | 52 | 41 | 75 | 43 | 166 | 48 |
300 | 130 | 468 | 89 | 50 | 126 | 51 | 280 | 57 |
400 | 75 | 270 | 9 | <15 | 15 | 19 | 32 | 29 |
400 | 130 | 468 | 27 | 31 | 44 | 38 | 95 | 45 |
400 | 185 | 666 | 54 | 42 | 90 | 48 | 192 | 58 |
400 | 230 | 828 | 84 | 50 | 138 | 56 | 297 | 69 |
500 | 135 | 486 | 12 | 15 | 18 | 23 | 42 | 35 |
500 | 210 | 756 | 29 | 32 | 45 | 39 | 101 | 49 |
500 | 285 | 1026 | 53 | 42 | 82 | 48 | 185 | 60 |
500 | 360 | 1296 | 84 | 50 | 131 | 57 | 295 | 71 |
600 | 220 | 792 | 12 | 22 | 19 | 25 | 50 | 34 |
600 | 330 | 1188 | 27 | 33 | 43 | 39 | 112 | 46 |
600 | 440 | 1584 | 48 | 43 | 77 | 49 | 198 | 55 |
600 | 540 | 1944 | 72 | 50 | 116 | 56 | 299 | 63 |
625 | 250 | 900 | 14 | 22 | 27 | 33 | 63 | 39 |
625 | 330 | 1188 | 25 | 32 | 47 | 42 | 110 | 47 |
625 | 410 | 1476 | 38 | 39 | 73 | 50 | 170 | 53 |
625 | 575 | 2070 | 75 | 50 | 143 | 64 | 333 | 67 |
Ceiling diffusers with square diffuser face. Supply air and extract air variants for comfort zones. Diffuser face with fixed air control blades for horizontal four-way air discharge. For installation into all types of suspended ceilings.
Ready-to-install component which consists of the aluminium diffuser face with fixed air control blades, a diffuser front frame with perimeter seal and a connecting frame, opposed action blades, butterfly damper or a plenum box.
Diffuser face suitable for central screw fixing.
Sound power level of the air-regenerated noise measured according to EN ISO 5135.
Special characteristics
Materials and surfaces
Technical data
Sizing data
Air-regenerated noise
|
|
Order example: ADLQ-AK-M-L/500
Connection | Horizontal, with plenum box |
Damper blade for volume flow rate balancing | With damper blade |
Accessories | With lip seal |
Nominal size | 500 |
Exposed surface | RAL 9010, pure white, gloss level 50 % |
ADLQ-A
Designed for high comfort
Together with renowned designers and architects we have developed ceiling, wall, staircase and floor diffusers and grilles that are not only aesthetic design elements, but also meet demanding ventilation and acoustic requirements.
Variant
Nominal sizes
Parts and characteristics
ADLQ-AR
Designed for high comfort
Together with renowned designers and architects we have developed ceiling, wall, staircase and floor diffusers and grilles that are not only aesthetic design elements, but also meet demanding ventilation and acoustic requirements.
Variant
Nominal sizes
Parts and characteristics
ADLQ-C
Designed for high comfort
Together with renowned designers and architects we have developed ceiling, wall, staircase and floor diffusers and grilles that are not only aesthetic design elements, but also meet demanding ventilation and acoustic requirements.
Variant
Nominal sizes
Parts and characteristics
ADLQ-AG
Designed for high comfort
Together with renowned designers and architects we have developed ceiling, wall, staircase and floor diffusers and grilles that are not only aesthetic design elements, but also meet demanding ventilation and acoustic requirements.
Variant
Nominal sizes
Parts and characteristics
ADLQ-AK
Designed for high comfort
Together with renowned designers and architects we have developed ceiling, wall, staircase and floor diffusers and grilles that are not only aesthetic design elements, but also meet demanding ventilation and acoustic requirements.
Variant
Nominal sizes
Parts and characteristics
Construction features
ADLQ-A
mm | mm | mm | mm | kg | |
ADLQ-AR
mm | mm | mm | mm | kg | |
ADLQ-C
mm | mm | mm | mm | kg | |
ADLQ-AG
mm | mm | mm | mm | kg | |
ADLQ-AK
mm | mm | mm | mm | mm | mm | mm | kg | ||
Weights apply to the supply air variant
ADLQ
mm | mm | m² | |
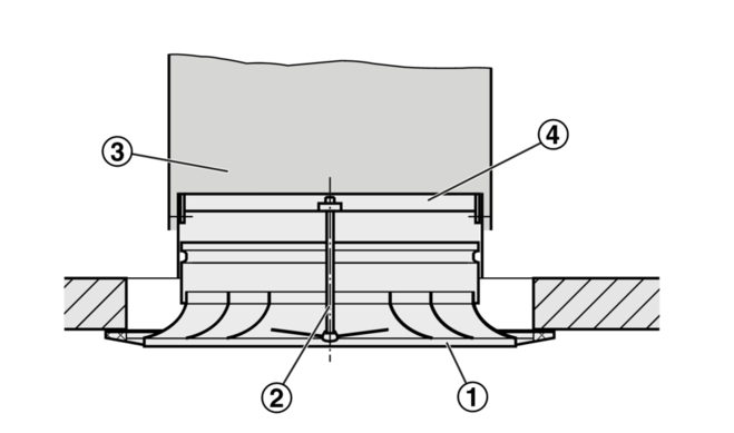
Installation and commissioning
These are only schematic diagrams to illustrate installation details.
Volume flow rate balancing
When several diffusers are connected to just one volume flow controller, it may be necessary to balance the volume flow rates.
Volume flow rate measurement
Ceiling diffusers with universal plenum box, damper blade and pressure tap (variant -MN) allow for volume flow rate balancing even with the diffuser face in place.
A characteristic is included with each AK-Uni plenum box.
Principal dimensions
ØD [mm]
Outer diameter of the spigot
ØD₁ [mm]
Outer diameter of a circular diffuser face
ØD₂ [mm]
Diameter of a circular diffuser face style
ØD₃ [mm]
Diameter of a circular plenum box
□Q₁ [mm]
Outer diameter of a square diffuser face
□Q₂ [mm]
Dimensions of a square diffuser face style
□Q₃ [mm]
Dimensions of a square plenum box
H₁ [mm]
Distance (height) from the lower edge of the suspended ceiling to the lower edge of the diffuser face
H₂ [mm]
Height of a ceiling diffuser, from the lower edge of the suspended ceiling to the upper edge of the spigot
H₃ [mm]
Height of a ceiling diffuser with plenum box, from the lower edge of the suspended ceiling to the upper edge of the plenum box or of the spigot
A [mm]
Position of the spigot, defined by the distance of the spigot centre line to the lower edge of the suspended ceiling
C [mm]
Length of the spigot
m [kg]
Weight
Nomenclature
LWA [dB(A)]
A-weighted sound power level of air-regenerated noise
V [m³/h] and [l/s]
Volume flow rate
Δtz [K]
Supply air to room air temperature difference, i.e. supply air temperature minus room temperature
Δpt [Pa]
Total differential pressure
Aeff [m²]
Effective air discharge area
All sound power levels are based on 1 pW.
Share page
Recommend this page
Recommend this page by sending a link by mail.
Share page
Thank you for your recommendation!
Your recommendation has been sent and should arrive shortly.
Contact
We are here for you
Please specify your message and type of request
Tel.: +49 (0)2845 / 202-0 | Fax: +49 (0)2845/202-265
Contact
Thank you for your message!
Your message is send and will be processed shortly.
Our department for Service-Requests will contact you asap.
For general question regarding products or services you can also call:
Tel.: +49 (0)2845 / 202-0 | Fax: +49 (0)2845/202-265
Contact
We are here for you
Please specify your message and type of request
Tel.: +49 (0)2845 / 202-0 | Fax: +49 (0)2845/202-265
Contact
Thank you for your message!
Your message is send and will be processed shortly.
Our department for Service-Requests will contact you asap.
For general question regarding products or services you can also call:
Tel.: +49 (0)2845 / 202-0 | Fax: +49 (0)2845/202-265