Application
Special features
Nominal sizes
Parts and characteristics
Materials and surfaces
Standards and guidelines
Maintenance
Disclosure of Chemicals
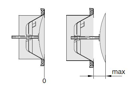
Supply air valves direct the air from air conditioning systems into the room. The resulting airflow induces high levels of room air, thereby rapidly reducing the airflow velocity and the temperature difference between supply air and room air. The result is a mixed flow ventilation in comfort zones, with good overall room ventilation, creating only very little turbulence in the occupied zone. Type Z-LVS disc valves have a valve disc that can be turned. Horizontal air discharge is radial. This valve disc facilitates volume flow rate balancing for commissioning.
| Nominal sizes | 100, 125, 160, 200 mm |
| Minimum volume flow rate | 10 – 30 l/s from 36 – 108 m³/h |
| Maximum volume flow rate | 25 – 90 l/s from 90 – 324 m³/h |
Quick sizing tables provide a good overview of the volume flow rates and corresponding sound power levels and differential pressures.
Z-LVS/100, Z-LVS/125, sound power level and total differential pressure
| NS | Airway width = 12 mm | Airway width = 10 mm | Airway width = 8 mm | |||||
|---|---|---|---|---|---|---|---|---|
| qᵥ [l/s] | qᵥ [m³/h] | Δpt [Pa] | LWA [dB(A)] | Δpt [Pa] | LWA [dB(A)] | Δpt [Pa] | LWA [dB(A)] | |
| 100 | 10 | 36 | 9 | <15 | 11 | <15 | 14 | <15 |
| 100 | 15 | 54 | 20 | 23 | 24 | 24 | 32 | 27 |
| 100 | 20 | 72 | 35 | 31 | 42 | 33 | 57 | 36 |
| 100 | 25 | 90 | 54 | 38 | 66 | 40 | 89 | 43 |
| 125 | 10 | 36 | 5 | <15 | 7 | <15 | 11 | <15 |
| 125 | 15 | 54 | 10 | <15 | 15 | <15 | 24 | 17 |
| 125 | 20 | 72 | 18 | 17 | 27 | 21 | 43 | 26 |
| 125 | 25 | 90 | 28 | 23 | 43 | 28 | 67 | 33 |
Z-LVS/160, Z-LVS/200, sound power level and total differential pressure
| NS | Airway width = 20 mm | Airway width = 15 mm | Airway width = 10 mm | |||||
|---|---|---|---|---|---|---|---|---|
| qᵥ [l/s] | qᵥ [m³/h] | Δpt [Pa] | LWA [dB(A)] | Δpt [Pa] | LWA [dB(A)] | Δpt [Pa] | LWA [dB(A)] | |
| 160 | 20 | 72 | 5 | <15 | 8 | <15 | 22 | 19 |
| 160 | 30 | 108 | 11 | <15 | 19 | 21 | 49 | 32 |
| 160 | 40 | 144 | 20 | 24 | 34 | 30 | 87 | 42 |
| 160 | 50 | 180 | 31 | 31 | 53 | 38 | 135 | 49 |
| 200 | 30 | 108 | 4 | <15 | 8 | <15 | 14 | <15 |
| 200 | 50 | 180 | 12 | <15 | 21 | 19 | 40 | 26 |
| 200 | 70 | 252 | 24 | 25 | 41 | 30 | 78 | 36 |
| 200 | 90 | 324 | 40 | 33 | 68 | 38 | 129 | 44 |
Sizing example
Given data
qv = 20 l/s (72 m³/h)
Supply air valve
Maximum sound power level 32 dB(A)
Quick Sizing
Type Z-LVS
Selectable nominal sizes: 100, 125, 160
Selected: Z-LVS/125
Specification text
Circular disc valves as supply air devices, preferably for small rooms. For installation into walls and suspended ceilings. Ready-to-install component which consists of a valve casing with cross bar, a valve disc with threaded spindle, and an installation subframe. The valve disc can be turned for volume flow rate balancing. The valve setting can be fixed with a lock nut. Spigot suitable for ducts to EN 1506 or EN 13180. Sound power level of the air-regenerated noise measured according to EN ISO 5135.
Special features
Materials and surfaces
Technical data
Sizing data
| Z-LVS | / | 160 |
| | | | | |
| 1 | 2 | |
| Nominal size | 160 |
Share page
Recommend this page
Recommend this page by sending a link by mail.
Share page
Thank you for your recommendation!
Your recommendation has been sent and should arrive shortly.
Contact
We are here for you
Please specify your message and type of request
Tel.: +49 (0)2845 / 202-0 | Fax: +49 (0)2845/202-265
Contact
Thank you for your message!
Your message is send and will be processed shortly.
Our department for Service-Requests will contact you asap.
For general question regarding products or services you can also call:
Tel.: +49 (0)2845 / 202-0 | Fax: +49 (0)2845/202-265
Contact
We are here for you
Please specify your message and type of request
Tel.: +49 (0)2845 / 202-0 | Fax: +49 (0)2845/202-265
Contact
Thank you for your message!
Your message is send and will be processed shortly.
Our department for Service-Requests will contact you asap.
For general question regarding products or services you can also call:
Tel.: +49 (0)2845 / 202-0 | Fax: +49 (0)2845/202-265